Saturday, April 4, 2026     
     Serving the Electronic Industries for Over 33 Years
ECG NTE Relays Switches Meter Capacitor & Potentiometers logo
Bourns Potentiometers logo
nichifu Solderless Terminal & Connectors Logo
Littelfuse Fuses Logo
     Electronic Components Distributor Logo                        
 Home
  |  View Account   |    Engineer's Corner    |  Contact Us  |  Cross Reference  |  Line Card  |  0 Item
Part Search
NTE Cross Ref. Search
Login
SRI Live Chat Help
call us email us contact us

Product Links

Inside SRI

About SRI
Contact Us
Careers
Link to Us!
Feedback

SRI-Newsletter
Subscribe to our newsletter to receive monthly specials, manufacturer's feature, and electronics news via email.

See Our latest release of SRI-Newsletter here

View Our List of Archived Newsletter Articles


SRI Links

Visit our Sister Site,

Distributor of

Industrial Products

  Web Search ..
  Powered by;

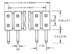
 200 Series Headers
Pin Header 2.54mm
 Features
  • Standoffs allow cleaning to eliminate soldering contaminates
  • Can be manually broken to the desired length
  • Specifications

    Material
    Contact . . . . . . Brass
    Plating . . . . . . Gold over Nickel
    Insulator . . . . . . PBT & 30% Glass Fiber Rated 94V-0

    Electrical
    Current rating . . . . . . 1amp
    Voltage rating . . . . . . 250 VAC
    Contact resistance. . . . . . . 30 milliohms max @ DC 100milliamps
    Insulation resistance . . . . . . 1000 megohm min @ 500 VDC

    Mechanical
    Mechanical life . . . . . . min. 50 cycles
    Operating temp . . . . . . -65° C to +220° C
    Retention clip . . . . . . Spring steel, Heat treated


    Straight
    Dimension
    A
    B
    1
    6.00/.236"
    3.00/.118"
    2
    13.90/0.55"
    5.30/0.21"
    3
    24.00/0.94"
    15.60/0.61"
    4
    13.15/.518"
    2.54/0.10"
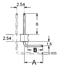
    Right Angle
    5
    8.89/.35"
    5.08/.20"


    Straight

    Right Angle

    Part Builder and Ordering Information
    200

    200 -   1 S -   20 -   1
         
    Series Rows     Type   No. of Pins Dimension
    200 1 = Single Row
    2 = Double Row
        S = Straight
    R = Right Angle
          02 - 40 = Straight Row
    04 - 80 = Double Row
    1
    2
    3
    4
    5


    **Specifications subject to changes**
    [
    Go to Search] [Back]


    Page Links

    Electrical Characteristics

    Mechanical and Environmental Characteristics

    Dimensions, Construction & Circuitry

    Part Numbering System


    Back